首页 > 资讯 > 安居房 > 正文

东莞谷涌西围花园旧改项目完成备案 将新增62.7万平住宅

2023-07-13 14:33:36 来源:东莞乐居

  原标题:项目总投资超百亿!谷涌西围旧改又有大动作,万江新城要来了!

  近日,位于万江的谷涌西围旧改又有新动态!

  据广东省投资项目在线审批监管平台显示,谷涌西围花园一期、二期成功备案,两期投资金额约34亿元

▲谷涌西围花园一期备案

▲谷涌西围花园二期备案

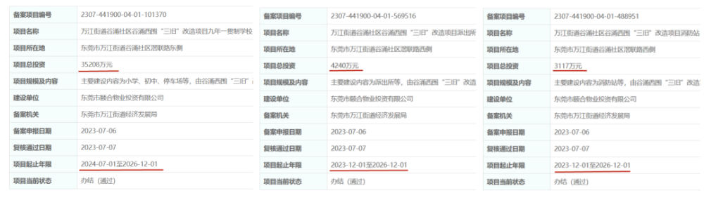
  同时完成备案的还有一所九年一贯制学校、一座派出所和一个消防站,投资金额约4.26亿元。

▲谷涌西围“三旧”改造配套备案

  谷涌西围花园是由鹏瑞世纪城共同操盘的旧改项目。项目起止时间从2025年6月1日至2028年6月1日,建设期为三年,这也意味着,距离项目动工还需等待较长一段时间。

▲万江谷涌项目部实景图 乐居摄于2021.11

  项目总投资超107亿元

  将新增约62.7万㎡住宅

  早在2021年6月,该项目一期和二期就已完成投资备案,一期投资约34亿元,二期投资约18亿元,起止年限均为2021年9月1日-2023年3月1日。学校、派出所、消防站的备案也已于2022年9月1日过期。

  这是在项目首次备案过期后又一次重新备案,一、二期总投资金额较此前减少约17亿元。

  此外,谷涌西围花园三期和四期已于2021年7月完成备案,三期投资约23.7亿元,起止时间为2022年10月1日至2025年10月1日,四期投资约45亿元,起止时间为2024年10月1日至2027年10月1日。

▲谷涌西围花园三、四期备案

  至此,谷涌西围花园一、二、三、四期,加上周边学校、派出所、消防站三座已备案配套,总投资金额达约107亿元

  值得一提的是,备案文件中所分的一期二期,实际上可以理解为一个住宅项目,相当于更新单元划定方案里的“一期”(即连续性的开发)。

  谷涌西围花园项目位于万江谷涌社区,周边分布有谷涌幼儿园、谷涌市场、谷涌医院等配套,生活较便利。

▲谷涌西围改造单元规划图

  根据批后的更新单元划定方案,项目改造后的拟总建面达约96.99万㎡,其中居住建面约62.7万㎡、商业建面约10.87万㎡、新型产业建面约23.42万㎡。

  但根据约定,约8.6万㎡商品房、约20万㎡产业厂房以及超过3.1万㎡商铺在建成后,需作为返还物业给到谷涌社区。

  万江旧改总面积达455万㎡

  新房最高价突破6万元/㎡

  作为东莞中心城区的旧改大户,万江囤积了不少项目,未来供应也将以旧改项目为主。

  据不完全统计,万江目前已中标的旧改项目多达26宗,总占地面积约455.1万㎡,改造方向以商住功能为主,吸引了万科、中天、鹏瑞、光大等知名房企抢滩入驻。

  备受关注的万科龙湾旧改项目,即万科中天世纪水岸,地处龙湾滨江片区核心区,R1线滨江体育馆站旁,是主城区近三年体量最大的项目,也是东莞城区首个连片改造的城市更新项目。

▲万科中天世纪水岸效果图

  项目体量超80万㎡,内部规划住宅、商业、酒店、办公、学校等综合业态。目前已开放营销中心和样板房,主推建面约89-195㎡三四房,预计7月开盘。

  新房市场方面,近几年万江房价增速较快,高品质楼盘频出。前有保利首铸天际、天健阅江来等项目,部分备案均价突破4万元/㎡,后有保利首铸鹭湾,约258㎡江景大平层备案均价为52988.65元/㎡,最高单价突破6万元/㎡

  据统计,万江目前有4个在售新房项目,均价在约2.6-5万元/㎡,价差较大。

  近期,万江利好不断。随着鸿福西路-银龙路过江隧道、龙湾中学、“三江六岸”滨水示范段二期工程等配套加速落地,旧改不断推进,万江未来可期。

免责声明:本页面旨在为广大用户提供更多信息的无偿服务;不声明或保证所提供信息的准确性和完整性。本站内所有内容亦不表明本网站之观点或意见,仅供参考和借鉴,购房者在购房时仍需慎重考虑。购房者参考本站信息,进行房屋交易所造成的任何后果与本网站无关,当政府司法机关依照法定程序要求本网站披露个人资料时,我们将根据执法单位之要求或为公共安全之目的提供个人资料。在此情况下之任何披露,本网站均得免责。本页面所提到房屋面积如无特别标示,均指建筑面积。 注:本站所有信息未经许可,不得转载,复制,抓取等,如有违者必追究法律责任。如有异议可投诉至:Email:133 46734 45@qq.com