断供多年的白马湖,迎来了新供应。
7月29日,杭州迎来2024年第8批次土地出让,本次仅1宗宅地,位于滨江区白马湖板块,起价19.46亿元,起始楼面价20938元/㎡。
这是杭州自2019年7月实施新房限价以来,主城区出让的首宗不限价地块。
据了解,地块共吸引了绿城、滨江、建发、大家、伟星、兴耀等10余家房企参拍,热度颇高。
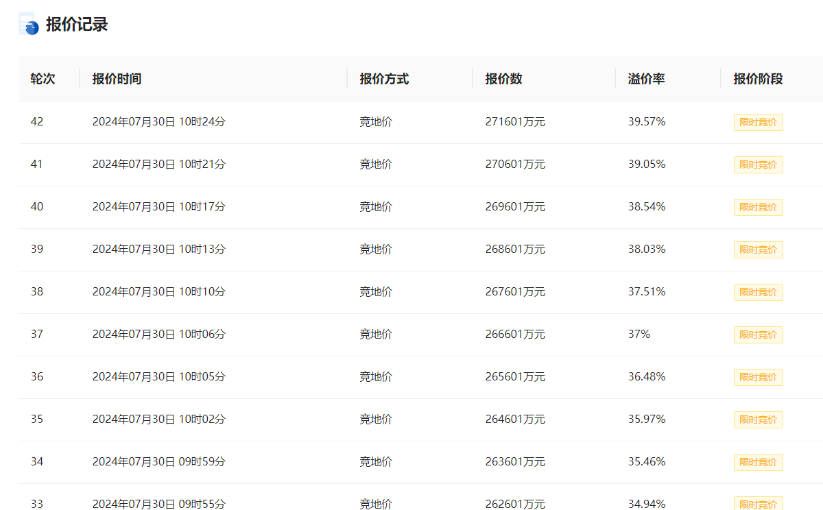
地块在挂牌期间,已有4轮报价,正式竞拍的前20分钟,房企出价都十分果决,几乎每1-2分钟,就有房企加价。在最后的溢价阶段,仍有房企紧咬不放,卡着规定时限(4分钟)出手。

最终经过42轮竞价,由杭州浙珩置业有限公司(绿城)以总价271601万元竞得,折合楼面价29223元/㎡,溢价率39.57%。
长河单元BJ050201-73、74地块,东面一路之隔即白马湖动漫广场和白马湖公园,西北角临近在建的地铁18号线白马湖站(预计2028年开通运营),西面是冠山小区,西北面直线距离不到1公里是冠山公园,位置十分优秀。

地块周边,杭二中白马湖学校、湖畔中学、创意城小学、华数数字电视产业园等环伺,教育等配套较为完善,但大型商业综合体,还是得依赖于滨江宝龙城、龙湖滨江天街等。
根据规划,长河单元BJ050201-73、74地被中间的市政道路分隔成南北两宗地块——BJ050201-73地块和BJ050201-74地块。
北侧的BJ050201-73地块:1.0≤容积率≤2.0,建筑密度≤22%,绿地率≤35%,建筑高度≤54米。
南侧的BJ050201-74地块:1.0≤容积率≤1.6,建筑密度≤30%,绿地率≤35%,建筑高度≤36米。

以往在新房限价下,开发商必须做满容积率,才能保证可货值最大化,但因为本宗地块不限价,以后新房卖什么价格,还是产品和市场说了算,开发商在产品设计上,也就有了更大的发挥空间。
按照规划要求,本宗地块完全具备打造洋房和叠墅产品的条件。
近日已经有网传开发商提前准备的做地方案流出,整体定位为纯改善住区,规划16-17F高层、11F洋房、6F叠墅产品,并设置有145方高层、180方洋房、和3套叠拼样板房。

网传某房企做地规划方案
滨江区是杭州高新技术企业最密集的区域之一,同时也是改善需求集中的区域,整体购买力强劲。凡有新房入市,摇号竞争都十分激烈,即使在处于市场低谷期的2024,千万级的星民路TOD首开依旧需要顶格社保+五年限售。
本宗地块距离网易滨江园区、华为技术有限公司杭州研究所约15分钟车程,到海康威视、吉利大厦等约20分钟车程,又有白马湖公园优美的环境在侧,这么好的地段,如果开发商能用心做产品,预计将吸引不少改善购房者。
据乐居了解,整个白马湖板块已经有10年没有出让过宅地,上一个新楼盘还要追溯到2014年的白马湖壹号,目前二手房近90天成交均价3.31万元/㎡,产品以90㎡户型为主。
地块西北侧直线距离约2公里处,是今年4月29日龙湖以总价143486万元竞得的浦沿单元BJ040403-05(1)地块,容积率2.2,楼面价20216元/㎡,新房限价39000元/㎡(含4000元/㎡装修)。

今年5月以来,杭州土地出让节奏放缓,减少库存积压区域供应的同时,增加主城区和低密改善地块供应。
就在白马湖地块正式竞拍前,杭州又挂牌了4宗主城区宅地,全部位于拱墅区,预计将于8月29日正式出让。
